广州市越秀区2024年度高校毕业生基层公共就业创业服务岗位公开招聘54人公告
广州市越秀区2024年度高校毕业生基层公共就业创业服务岗位公开招聘54人公告,本次招聘报名时间:2024年11月28日至2024年12月4日,详细信息请阅读下文!
根据《广州市人力资源和社会保障局关于转发〈广东省高校毕业生基层公共就业创业服务岗位招募管理办法〉的通知》(穗人社函〔2022〕323 号,以下简称《通知》)有关要求,越秀区面向社会公开招聘54名高校毕业生基层公共就业创业服务工作人员。现将有关事项公告如下:
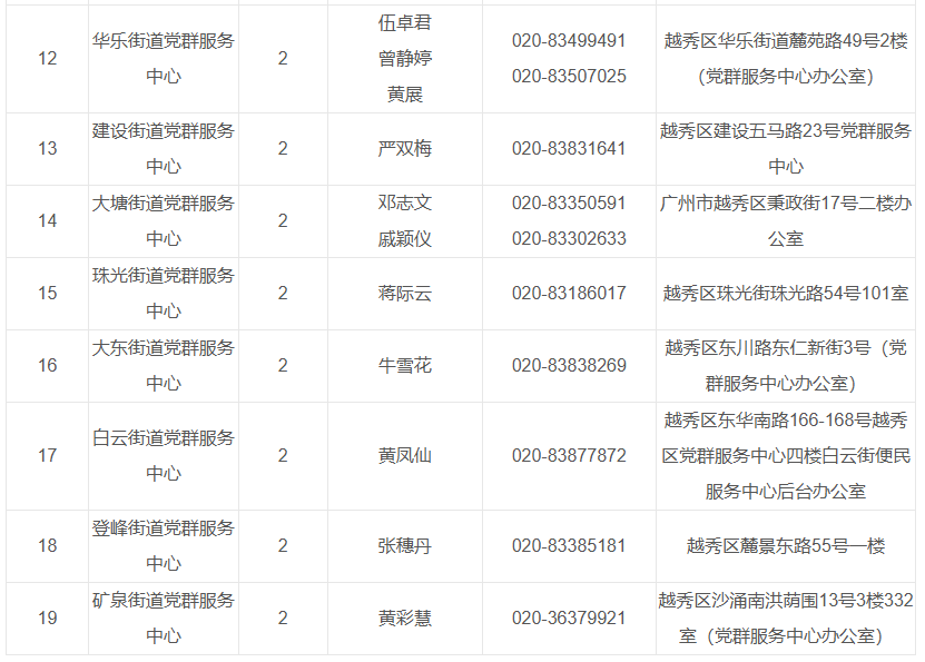
(一)招聘岗位:广州市越秀区人力资源和社会保障局共招聘18名,辖内各街道党群服务中心共招聘36名,招聘工作岗位、名额、报名联系人、招聘咨询电话、现场报名地址详见下表:
(二)岗位职责:1.协助开展就业、失业登记和就业困难人员认定工作,重点群体就业联系跟踪服务工作;2.协助开展职业介绍、职业指导、创业服务等相关工作;3.协助开展就业创业补贴申领发放工作;4.协助开展公益性岗位、就业见习相关工作;5.协助开展就业信息收集、调查和分析相关工作;6.协助开展其他就业创业相关工作。
(七)毕业2年内的高校毕业生,即2023届和2024届高校毕业生,包括普通高等学校的全日制本、专科毕业生,以及全日制和非全日制硕士、博士毕业生。技工院校高级工班、预备技师班和特殊教育院校职业教育类毕业生。获得教育部留学服务中心学历学位认证的国(境)外高校毕业生。
1. 属城乡困难家庭成员的(持有城乡低保证、特困人员救助供养证、特困职工证之一,或属于脱贫人口家庭成员);
工资待遇参照当地事业单位新招聘高校毕业生的工资水平,具体以相关法律、法规规定和劳动合同约定为准。
1. 报名方式:采用现场报名的方式,应聘人员须到本人应聘工作岗位对应的报名点(19个)进行报名和资格审查,每人限报一个岗位(以岗位代码为准),报名与资格审查工作同时进行,以通过资格审查的实有人数参加综合性面试。全区统一报名时间:2024年11月28日至2024年12月4日,工作日周一至周五9:3011:30,14:3017:00。
(1)《广州市越秀区2024年度高校毕业生基层公共就业创业服务岗位公开招聘报名登记表》(附件1)、《承诺书》(附件2)各一份,请在本公告下方链接自行下载填写;
(2)本人有效身份证(正反面)、户口本(户主页和本人页)、学历证书、学位证书、学历学位认证等材料;具备优先聘用条件的,请提供相关证明材料;在国(境)外高校就读的高校毕业生,除提供毕业证信息外,还需提供国(境)外学历学位认证;如有专业技术职称资格证书、岗位职业(执业)技能证书等证书的也请一并提供。上述材料均需提供原件及复印件;
3. 资格审查:由报名点工作人员对应聘人员进行资格审查,并现场核验应聘人员报名材料原件,审查合格者准予参加综合性面试。
1. 本次考试采取综合性面试方式进行考核,面试人员范围为通过现场资格审查的人员。面试时间、地点及其他安排等另行通知;面试时报考人员须持本人的身份证原件和面试通知参加,不按规定时间参加面试的,视为自动放弃。
2. 成绩计算方法:面试成绩满分为100分,合格分为60分,按四舍五入计算到小数点后两位。
4. 面试成绩达60分及以上,并以面试成绩的高低顺序,按招聘职位1:1的比例确定参加体检人员名单。
1. 按职位拟招聘人数和综合性面试成绩高低顺序1:1的比例确定体检人选。
2. 体检项目和标准按照《广东省事业单位公开招聘人员体检实施细则(试行)》的要求到指定的医院进行入职体检,体检费用由应聘人员自行负责。
1. 公示结果。经过综合性面试、体检等程序后,拟聘用人员名单通过广州市越秀区政府门户网站对外公示,网址是:,公示期为3个工作日。
2. 发送聘用结果。经对外公示无异议的,由用人单位发送聘用通知;对公示有异议,经调查后证实有影响聘用的、拟聘用人员放弃聘用的或导致拟聘岗位空缺的其他情形,可根据实际情况的需要,按照综合性面试成绩高低顺序依次递补。
(一)拟聘用人员将依法与用人单位签订劳动合同,同时必须服从关于工作地点和岗位的分配安排,拒绝分配安排的可视实际情况取消聘用资格。
(二)根据《通知》要求,基层公共就业创业服务岗位人员服务期限最长不超过2年(试用期2个月),除法律法规另有规定外服务期满应终止劳动合同,不再续聘;对合同期满的人员相关部门会通过政策指引等方式促进其通过其他渠道就业创业;对有参加技能培训、参加创业培训、申请创业担保贷款、入户城镇等方面需求的人员,相关部门会给予支持,保障享受政策扶持。
(三)资格审查贯穿招聘工作全过程:应聘人员报名后视为认同公告所有内容,并配合做好相关工作。应聘人员提供的所有资料必须真实、准确,在招聘环节发现应聘人员不符合报考资格条件,或应聘人员和有关单位提供的材料、信息不实的,经查实取消应聘人员报考资格或者聘用资格,已签订劳动合同的合同无效,并保留追究其个人法律责任和经济责任。
(四)考试、体检证件不齐或不符合要求的,取消考试或体检资格,一切后果由应聘人员本人负责。
(五)应聘人员在报名表所填写联系地址和电话必须真实,并保持联系电话畅通,如因地址不详或联系电话不畅通,导致未能按时接到招聘工作的有关通知而耽误其本人参加面试、体检、录取的,后果由应聘人员本人负责。
(六)根据《广东省人力资源和社会保障厅 广东省财政厅关于印发广东省就业创业补贴申请办理指导清单(2021年修订版)的通知》(粤人社规〔2021〕12号,附件3)、《广州市人力资源和社会保障局 广州市财政局关于印发广州市就业创业补贴申请办理指导清单(修订版)的通知》(穗人社规字〔2022〕1号,附件4)的规定:公共就业服务岗位补贴与高校毕业生基层岗位补贴、基层就业补贴不得叠加享受。考生必须认真阅读并理解相关文件规定,填写《承诺书》(附件2)。
(七)除本公告外,涉及本次招聘的其他补充、修改及相关信息的发布,均在广州市越秀区政府门户网站进行(,不再另行通知,请各位应聘者密切关注。
(八)本公告如有其他不详或未尽事宜,由广州市越秀区人力资源和社会保障局负责解释。
附件:1.广州市越秀区2024年度高校毕业生基层公共就业创业服务岗位公开招聘报名登记表.xls
3.广东省人力资源和社会保障厅 广东省财政厅关于印发《广东省就业创业补贴申请办理指导清单(2021年修订版)》的通知(粤人社规〔2021〕12号).pdf
4.广州市人力资源和社会保障局 广州市财政局关于印发广州市就业创业补贴申请办理指导清单(修订版)的通知(穗人社规字〔2022〕1号).pdf
免责声明:本站所有信息均来源于互联网搜集,并不代表本站观点,本站不对其真实合法性负责。如有信息侵犯了您的权益,请告知,本站将立刻删除。

